Napomena: Ova stavka je ugašena. Važeći artikal možete pronaći ovde: 6036620 / Krivina 90° 60 A2

Krivina 90° 60 A2

Br.art. 7134122 | EAN 4012196820870

7134122 / RB 90 610 A2
100 mm
plemeniti čelik, nerđajući 1.4301
svetlo, naknadno obrađeno
Opis proizvoda
Opis proizvoda
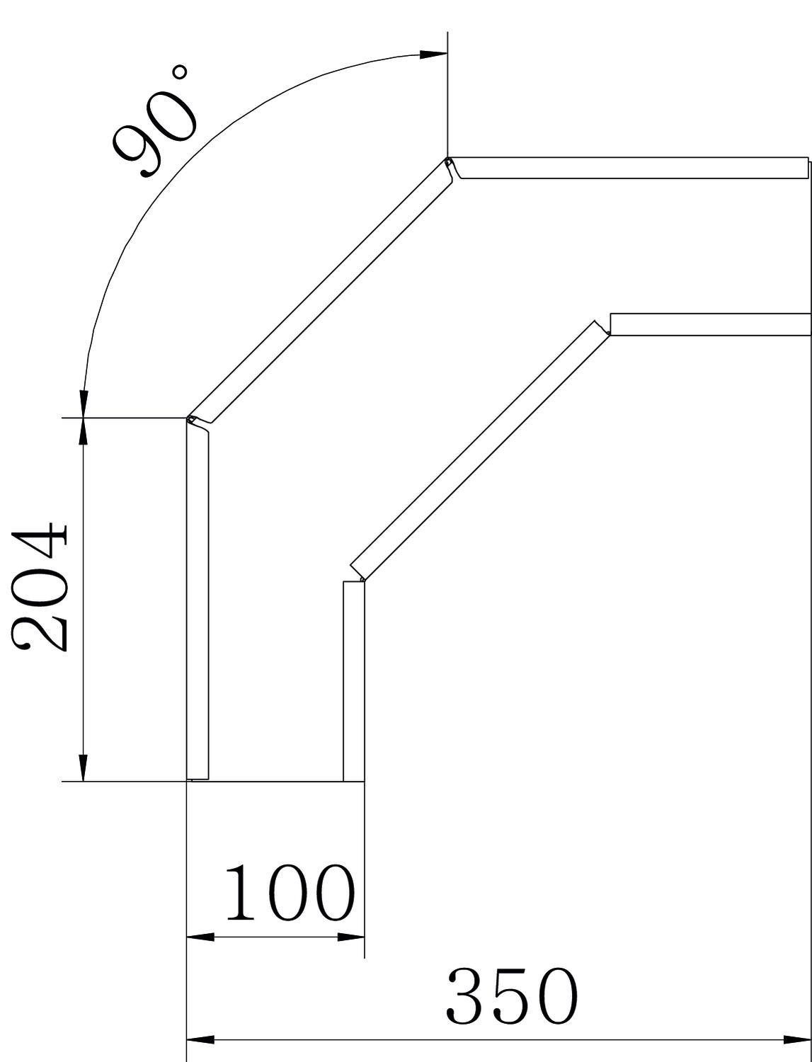
Krivina 90°, horizontalna, za sve tipove perforiranih nosača kablova sa bočnom visinom od 60 mm.

Širina 100 mm je kvadratna i ne odgovara slici.

Fazonski komad se isporučuje u nemontiranom stanju.

Zajedno sa odgovarajućim materijalom za pričvršćivanje.

  • Udruženje elektrotehnike, elektronike i informacione tehnike e.V, Nemačka
  • Communautés Européennes, EU Izjava o usaglašenosti prema EU-pravilniku
  • Nosač kablova, bočna visina 60 mm
Tehnički podaci

Tehnički podaci

Bočne perforacije ne
Debljina lima 1 mm
Dimenzija 60x100
Dimenzija B 100 mm
Dimenzija r 50 mm
Izvedba-za velike raspone ne
Materijal plemeniti čelik, nerđajući 1.4301
Montažna perforacija u podu ne
NATO otvor ne
Nerđajući čelik, nagrižen ne
Održavanje funkcionalnosti ne
Površina svetlo, naknadno obrađeno
Promena pravca horizontalno
Savijanje (ugao) 90°
Širina 4 in
Širina 100 mm
Varijanta spojnice Isporučena spojnica
Visina 60 mm
Visina 2 in
Vrsta spojnice sistema nosača kablova zašrafljeno
Svi tipovi

Svi tipovi

Tip Širina Materijal Površina Br.art. Količina malo pakovanje
RB 90 610 A2 100 mm plemeniti čelik, nerđajući 1.4301 svetlo, naknadno obrađeno 7134122
1 Komad
Preuzimanja

Preuzimanje

EU izjava o usaglašenosti RB 90 610 A2 / 7134122 , 0.13MB , pdf
Preuzimanje

Preuzimanje

RB 90 610 A2 / 7134122
Preuzimanje