- Opis proizvoda
-
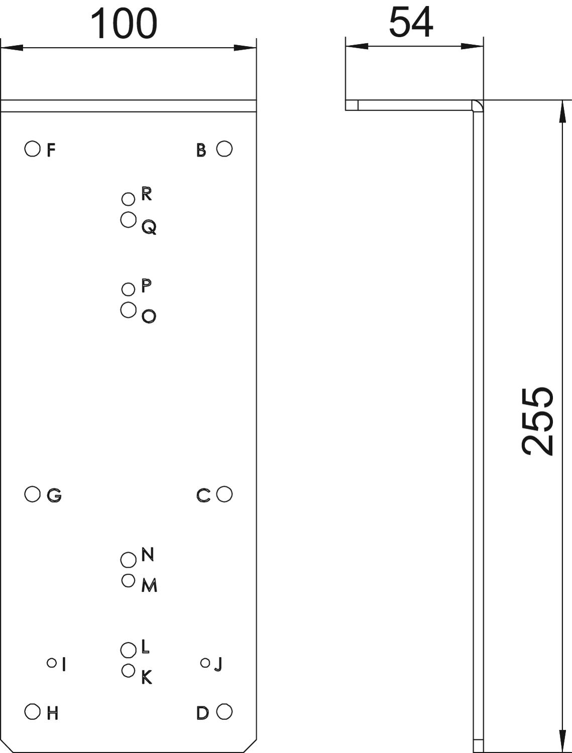
Opis proizvodaŠabloni za bušenje, za bušenje rupa na lokaciji. Ovim šablonima se mogu obeležiti sledeće rupe.
- rupe za spojne konektore
- rupe za pričvršćivanje završnih komada
- montažne rupe za potporne elemente
- rupe za pričvršćivanje elemenata za zaključavanje u poklopcu
-
- Tehnički podaci
-
CO2 otisak (Product Carbon Footprint)
CO2 otisak (GWP) od kolevke do kapije 2,9582 kg CO2e / 1 Komad Materijal Čelik Minimalna visina betonske košuljice 85 Mogućnost ugradnje zaptivke ne Namenjeno za elastičnu fugu ne Namenjeno za podne kanale ispod betonske košuljice ne Namenjeno za zatvorene podne kanale ne Odgovara za otvorene podne kanale da Održavanje poda suvo Odvojivo da Podna ploča da Poklopac može da se skine da Poklopac za montažni otvor ne Površina hladno pocinkovano Preklopno pričvršćivanje poklopca ne Sa ispustom da Sa izjednačavanjem potencijala ne Sa priključnim otvorom ne - Svi tipovi
- Preuzimanja
-
Informativni list OKB BS BL / 7403883 , 0.16MB , pdfREACH Izjava o usaglašenosti OKB BS BL / 7403883 , 0.12MB , pdfRoHS Izjava o usaglašenosti OKB BS BL / 7403883 , 0.13MB , pdfUputstvo za montažu Mounting instructions OKB-U and OKB-E , 1.30MB , pdfUputstvo za montažu Mounting instructions, drilling template OKB BS BL , 0.62MB , pdfZa ovaj proizvod nema tenderskih specifikacija na raspolaganju
Србија - Cрпски